Background left 1ec41f4f0d34b983a8bb4eb6d434490a96b355f8c46e09edb09ec946ff129c8e Background right 92a0678b805fbe9137f4e1d601eae04d7f27e561eafcbb80d2909b4ce348080a
Home > Fasteners > Miscellaneous Fasteners

Image print 41802554ab85c0653548648a0104b3674913e6317aa82856144898b263de7811 Print

6077?width=380&height=380
4091?width=380&height=380

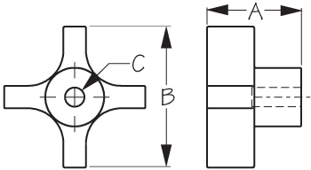
THREADED FOUR ARM KNOBS

Thermoplastic/Brass
Bulk Display A B C (Thread) Weight Std. Pack Add to List
K938553 n/a 1" 1-1/2" 1/4"-20 .02 10 ea

Bulk Bags Include: Ten (10) Threaded Knobs.

⚠ Warning: Cancer and Reproductive Harm – www.P65Warnings.ca.gov